Humidaire Company, Inc

Phone: 215-467-4646 Fax: 215-467-1667
2701 E. Tioga Street
Philadelphia, PA 19134
humidair@comcast.net

Specializing in HVAC Components


Disc
Parts
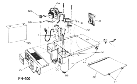
Description Model Number Key Application Replaces
  Reservoir w/window (H-453)Poly Carbonate Mat'l RH450 AA FH400  
  Drain Cap (Brass) w/Cap Seal(H 657 Asy BB FH400  
  Pilot Light / Brkt Asy H-472/473 CC FH400  
  Name Plate Asy. W/Fastner &Len 798 Asy DD FH400  
  Mtg Frame (only) H-457 EE FH400  
  Thumbnuts, Brass (2 Required) H-494 FF FH400  
  Deflector H-491 GG FH400  
  Float Compartment Cover H-459 HH FH400  
  Motor Asy (rdy to Install) RH-141 II FH400  
  Gasket Set (2 long,2Short) H-467/468 Not Shown FH400  
  Direct Flush Drain Asy(OptAcce RH519 Not Shown FH400  
  Parts Bag Asy 584 Asy JJ FH400  
H-521 Sentinel Parts
Timer Asy w/Mtg Scrws & Knob
RH-3303 LL FH400 H-539
  Timer Asy w/Mtg Screws & Knob H-510 MM FH400 H-539
  Control Knob H-477 NN FH400  
  Pump H-540 OO FH400  

Description Model Number Key Application Replaces
"A"Humid-Disc Asy (13 Disc) RH-96 A FH300, FH400  
"B" Humid-Disc Asy, (24 Disc) RH-97 B FH300, FH400  
"C" Humid-Disc Asy (32 Disc) RH-447 C FH300, FH400  
Bronze Humid-Disc H-23 D FH300, FH400  
Disc Spacer, Replaces H-93&H94 H-444 G FH300, FH400  
Protective Washer (1 per asy) H-98 H FH300, FH400  
Stainless Stl Shft w/2retclps H-95/356 I FH300, FH400  
Retaining Clip (2 requird per) H-356 J FH300, FH400  
Screen Shield(2 req per) H-369 K FH300, FH400  
Float Valve Asy RH-474 L FH300, FH400  
Buna-n Seat for float arm H-378 Not shown FH300, FH400  
"Snap-In Snap-Out" Observation H-453 M FH300, FH400  
Saddle Valve Kit H-7041 Not Shown FH300, FH400  
Nylatch Asy (2 grom & 2 screws Nylatch Asy (2 grom & 2 screws N FH300  
Cmplt Mtr Asy RH-325 O FH300  
Motor Cover Asy w/labels 137 Asy P FH300  
Reservoir Sub Asy:H-195,RH3301,Brass nut H-301, & Spit Bearing brt H13 RH-340 Q FH300  
Barbed Drain H-423,H-436 RH3301 R1 FH300  
Lock Nut H-301 R2 FH300  
Spit Bearing Brkt w/2mtg scrw H-13 S FH300  
Mtg Frm Asy RH-29 T FH300  
Quick Fasteners H-357 U FH300  
Direct Flush Drain Asy RH-435 V FH300 H323 Drn Cap
Gasket Set (2long, 2 Short) 2015/822 ASY W FH300  
Drain Cap H323 X FH300  
Parts Bag Asy 159 Asy Z FH300  
5/8" Dia Drain Cap H-82 X FH300  
Blower Fans
Email_Humidaire

FH300 Parts